在APP開發中我們經常會碰到,APP要實現終端用戶提現,提現請求提交后則通過微信支付直接付款到用戶的微信零錢賬號,這就會用到微信支付提供“企業支付”這個功能,今天鄭州APP開發開拓者科技跟大家分享一下“企業支付”的申請開通問題。
一、功能介紹
企業付款為企業提供付款至用戶零錢的能力,支持通過API接口付款,或通過微信支付商戶平臺(pay.weixin.qq.com)網頁操作付款。
二、使用條件
1、商戶號(或同主體其他非服務商商戶號)已入駐90日
2、商戶號(或同主體其他非服務商商戶號)有30天連續正常交易
3、 登錄微信支付商戶平臺-產品中心,開通企業付款。
三、付款資金
企業付款到零錢資金使用商戶號余額資金。
根據商戶號的賬戶開通情況,實際出款賬戶有做區別:
◆ 默認情況下,企業付款到零錢使用商戶號基本戶(或余額賬戶)余額。如商戶號已開通運營賬戶,則企業付款到零錢使用運營賬戶內的資金。
◆ 基本戶(或上述其他出款賬戶)的資金來源,可能是交易結算款項(僅基本戶),或給賬戶充值的資金。當出款賬戶余額不足時,付款將因余額不足而付款失敗。
四、付款規則
付款方式
◆ 支持API接口或網頁操作,付款至目標用戶。
收款用戶身份指定
◆ 通過APPID+OPENID指定收款用戶。
◆ APPID需要為申請商戶號時的APPID,或者與商戶號有綁定關系。
◆ OPENID的獲取方式,可參照:https://mp.weixin.qq.com/wiki?t=resource/res_main&id=mp1421140839
付款額度
◆ 不支持給非實名用戶打款
◆ 給同一個實名用戶付款,單筆單日限額2W/2W
◆ 一個商戶同一日付款總額限額100W
注意:以上規則中的限額2w、100w由于計算規則與風控策略的關系,不是完全精確值,金額僅做參考,請不要依賴此金額做系統處理,應以接口實際返回和查詢結果為準,請知曉。
收款用戶身份校驗
◆ 針對付款的目標用戶,提供可校驗真實姓名的功能
查詢付款情況
◆ 已付款的記錄,企業可通過企業付款查詢查看相應數據,或者查詢商戶號資金流水。
付款頻次
◆ 默認每天最多可向同一個用戶付款10次,可以在商戶平臺--API安全進行設置
其他注意事項
◆ 付款金額必須小于或等于商戶當前可用余額的金額;
五、接口介紹
注意事項:
◆ 當返回錯誤碼為“SYSTEMERROR”時,請不要更換商戶訂單號,一定要使用原商戶訂單號重試,否則可能造成重復支付等資金風險。
◆ XML具有可擴展性,因此返回參數可能會有新增,而且順序可能不完全遵循此文檔規范,如果在解析回包的時候發生錯誤,請商戶務必不要換單重試,請商戶聯系客服確認付款情況。如果有新回包字段,會更新到此API文檔中。
◆ 因為錯誤代碼字段err_code的值后續可能會增加,所以商戶如果遇到回包返回新的錯誤碼,請商戶務必不要換單重試,請商戶聯系客服確認付款情況。如果有新的錯誤碼,會更新到此API文檔中。
◆ 錯誤代碼描述字段err_code_des只供人工定位問題時做參考,系統實現時請不要依賴這個字段來做自動化處理。
接口地址
接口鏈接:https://api.mch.weixin.qq.com/mmpaymkttransfers/promotion/transfers
是否需要證書
請求需要雙向證書。 詳見證書使用
請求參數
請求示例:
wxe062425f740c30d8
10000098
3PG2J4ILTKCH16CQ2502SI8ZNMTM67VS
100000982014120919616
ohO4Gt7wVPxIT1A9GjFaMYMiZY1s
FORCE_CHECK
張三
100
節日快樂!
10.2.3.10
C97BDBACF37622775366F38B629F45E3
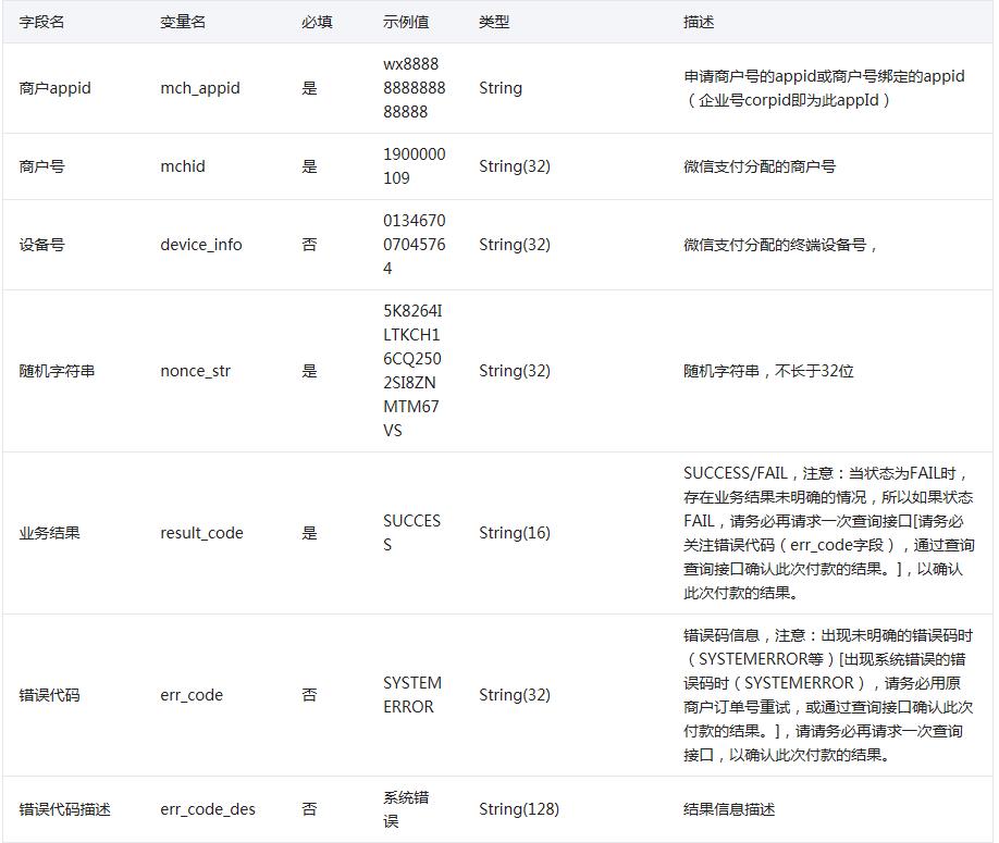
返回參數:
以下字段在return_code為SUCCESS的時候有返回
以下字段在return_code 和result_code都為SUCCESS的時候有返回

成功示例:
錯誤示例:
錯誤碼
